關鍵字:拉床 拉削 提高端跳精度
拉床可加工各種形狀的通孔、通槽和各種形狀外表面,具有生產效率高、成本低、工藝簡單等特點。因此,拉削被廣泛應用于這類零件的批量生產中。隨著科技的進步,人們對拉削工件端面跳動精度要求也越來越高,為滿足客戶加工需求,拉床的精度及其穩定性程度也是越來越高。
本文主要討論數控拉床設計、制造過程中如何滿足和提高拉削工序中工件端面圓端跳精度的幾種方法。
一、影響工件端跳的因素
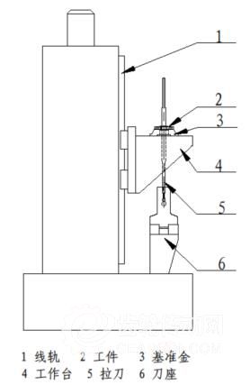
數控拉床的動力源為電力。如圖,工作臺與線軌滑塊連接,工件放置于工作臺平面上。拉削時,拉刀固定,工作臺由電機驅動向上提升,完成拉削。從整個拉削過程,我們很容易分析出影響工件端跳的幾個因素:
1、工作臺主運動方向與工件端面的垂直度;
2、拉刀軸線與工作臺面的垂直度;
所以想要提高工件端跳精度,必須從這幾點著手。

數控內拉床結構示意圖
二、提高端跳精度的措施
1、提高工作臺主運動方向與工件端面垂直度
①提高工作臺面與主運動方向的垂直度
根據立式拉床精度檢驗規范,工作臺面與主運動方向的垂直度需達到 0.03/300,此精度的實現,主要由大件加工精度和線軌精度保證。
②提高基準金安裝面與工作臺面的平行度
如上圖,基準金上平面與工件連接,下平面與工作臺面連接。因此基準金與工作臺越貼合、接觸斑點越多,工件拉出的端跳越好。基準金與工作臺采用配鏟的裝配工藝,能大大提高接觸面積和接觸剛性,使工件受力均勻,工件端面圓跳精度提高。
2、提高拉刀軸線與工作臺面的垂直度
刀座中軸線與工作臺面垂直度一般要求0.03/300。但是因為加工誤差和裝配的累積誤差,這一數值往往不能達到。因此一般采用配鏟的裝配工藝來修正刀座安裝面,最終滿足垂直度要求。
3、提高設備主體件剛性
除了加工精度和裝配精度,機床主體剛性也直接影響拉削精度。因此在設計拉床大件時,必須選擇適當的筋板厚度,以提大件自身的固有頻率,并合理排布筋板位置及形狀。機床安裝到工廠時,優先考慮鋪設一定厚度的地基,并將將機床地腳澆注牢固,配以減震墊鐵,這樣可以減少發生震動的可能。
4、其它提高拉削精度的措施
拉削過程中,工作臺等支撐承件不可避免地會發生變形,工件端面與拉削中心線垂直度不易保證,最終導致拉削精度不高。為了提高受此類因素影響的端跳精度,我們可以從工裝夾具方面著手。

球面浮動支撐裝置示意圖
如圖所示的一種球面浮動裝置,當工作臺面變形導致工件端面受力不均時,兩個接觸的球面會自動進行調節,保證受力方向始終與端面垂直。充分利用被加工零件自身拉前孔與端面的圓跳動精度進行合理的復映。因此,這種結構能有效地克服工作臺自身變形帶來的拉削影響。但是,為了保證浮動調節的靈活性,配合的球面需要熱處理,硬度為HRC40-45,并經過配研后裝配,充分降低兩球面的磨擦力。
三、結語
拉削端跳精度的提高,最終體現的都是設計的合理性、加工和裝配的精度以及工裝夾具結構等的提高。
